من المعروف أن تشغيل العاب PS3 على منصات بلايستيشن PS4 و PS5 يعتبر من اكثر الاشياء التي أعاقت شركة سوني وايضا جمهور اللاعبين الذي لن يتمكن من نقل عدد كبير من مكتبة العابه الى الاجيال التالية، فما بالكم في توافق الأجهزة الأخرى الخاصة بالجيل الثالث!
نحن نعلم أن شركة سوني تحاول منذ عدة سنوات عديدة تسهيل فك تشفير البنية البرمجية الخاصة بنظام تشغيل PS3 المعقد ومحاكاتها عبر مشغلات خارجية يمكنها تشغيل بعض العاب الجهاز على منصات بلايستيشن الاخرى، ويبدو ان سوني تقترب من احدى هذه الكوابيس عبر محاكيات تشغيل طرفيات مخصصة لجهاز بلايستيشن 5.
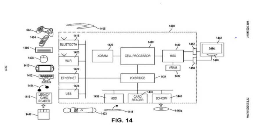
براءة اختراع جديدة من قبل سوني تم رصدها من قبل Game Rant عبر VGC تشير الى أن الشركة تحاول التوافق مع أجهزة قديمة مثل الأجهزة الطرفية أو الأجهزة المحمولة “PSP GO و EYETOY و DUALSHOCK 3” تتوافق مع وظائف وحدات تحكم بلايستيشن الحديثة مثل PS5 كما تظهر في الصورة أدناه.
يأتي هذا رغم تخلي شركة سوني عن هذه الأجهزة التي كان آخرها جهاز PlayStation Move التي لا تزال تستخدم للتحكم في نظارات الواقع الافتراضي PlayStation VR، والبراءة تشير الى أن الأجهزة الطرفية تبدو بشكل أساسي وكأنها من عصر PS3، وعلى ما يبدوا بأنها جزء من جهود الشركة لتطوير نظام محاكاة متكامل.

ما يجعل براءة الاختراع أكثر إثارة للاهتمام هو أن الأجهزة الطرفية تبدو بشكل أساسي وكأنها من عصر PS3 ، مما قد يشير إلى أن هذا جزء من جهود Sony التي تم الإبلاغ عنها لمحاكاة النظام ، والذي تم نقله إلى البث فقط كجزء من PlayStation من Sony مؤخرًا. بالإضافة إلى تغيير العلامة التجارية.
في حين أنه من الممكن تخيل أن Sony تستكشف كيفية جعل هذه التقنية القديمة تعمل من خلال المحاكاة ، نظرًا لعدم توفر أي من المعدات ، باستثناء PS Move Wands ، المتاحة حاليًا للشراء ، فقد تكون مجرد عملية لمحاكاة وظائف هذه العناصر في البرامج ، بدلاً من التوافق مع PlayStation 5.
يذكر ان سوني قد اعتمدت على وحدة معالجة جديدة كليا في جهاز PS3 معتمدى على معالجات CELL الجديدة والتي دفعت المطورين لوضع حيل مختلفة من اجل الوصول الى قدرات وحدة المعالجة هذه واستغلالها بطريقتهم الخاصة في العابهم.












