براءة اختراع جديدة من سوني تسهل عملية التطوير بدون الحاجة إلى Devkits
هل نقول وداعاً إلى عدة المطورين؟

عثر مصدر مطلع على براءة اختراع جديدة من سوني ستعمل على المساعدة في تطوير الألعاب دون الحاجة إلى عدة مطورين أو ما يعرف باسم Devkits، فعل نقول وداعاً لهذا العتاد الذي تعود عليه مطوري الألعاب منذ أجيال؟
يقول Zuby-Tech ان هناك براءة اختراع جديدة من سوني تهدف إلى تبسيط تطوير منصات الألعاب دون الحاجة إلى أدوات التطوير (Devkits) حيث يقول الوصف الخاص ببراءة الاختراع هذه:
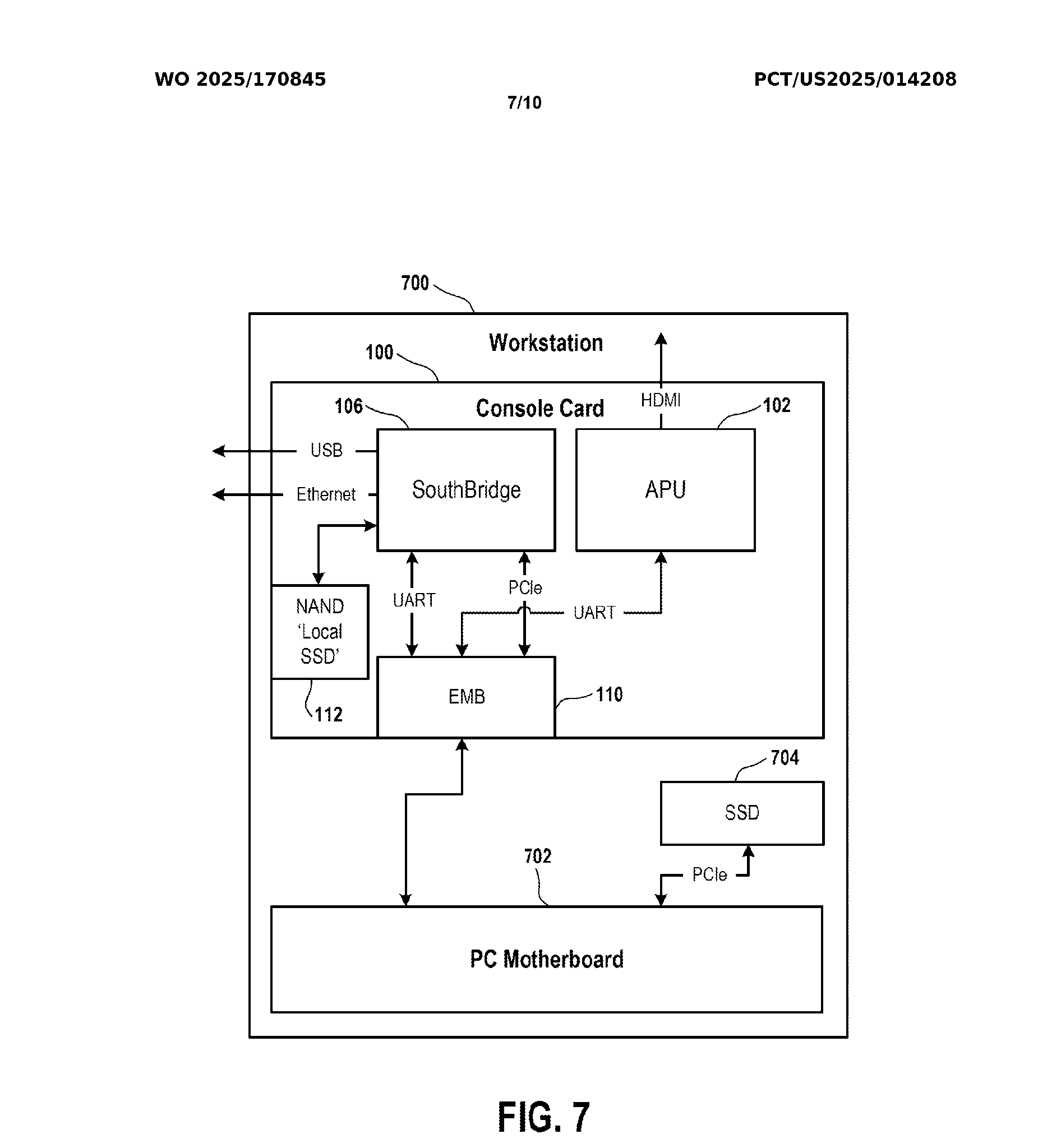
تسعى سوني إلى الحفاظ على الطابع الحصري لمنصة ألعابها مع تسهيل عملية تطوير الألعاب على المطورين. لذلك، قد تستخدم الاستوديوهات قريبًا بطاقة PCIe تحل محل أدوات التطوير (Devkits) التقليدية الضخمة المستخدمة حاليًا. يجب تكييف منصة الألعاب بطرق مختلفة لتلبية احتياجات مطوري الألعاب، أو يجب تطوير أجهزة متخصصة إضافية [حاليًا] لتمكين تطوير الألعاب.”
ربما يقصد الوصف أن Sony ستعمل على تطوير شرائح صغيرة الحجم بحيث يتم وصلها باجهزة الحاسوب وتقدم القدرة ذاتها لأجهزة المطورين Devkit وتمنحهم القوة نفسها بدلاً من الاعتماد على الأجهزة الكبيرة الحجم.
هذا الأمر قد يخفف من التسريبات وانتشار الإشاعات خصوصاً عندما يحين موعد إطلاق جيل جديد من أجهزة المنصات المنزلية. يذكر أن العملاقة اليابانية قد قامت بتسجيل ما يزيد عن 20 براءة اختراع مختلفة هذا العام ولكن لم يتم تطبيق أياً منها. هل تعتقدون بأننا سنرى أحدها أو على الأقل البراءة المذكورة أعلاه؟









