براءة اختراع من سوني لتحسين تقنية تتبع الاشعاع Ray Tracing في اجهزة PS5..

قامت سوني مؤخراً بتعبئة براءة اختراع من اجل تقديم تجربة افضل لاخاصية تتبع الاشعاع Ray Tracing على PS5 عبر تقنيات جديدة.
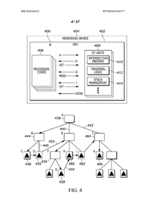
حسب ما حصلنا عليه من معلومات (عبر موقع PSU) تم تسجيل براءة الاختراع من قبل مهندس PS5 ومنشئ مارك سيرني، حيث جاء فيها “النظام والطريقة لتتبع الأشعة المتسارع” و “النظام والطريقة لتتبع الأشعة المتسارع مع التشغيل غير المتزامن وتحويل الشعاع”.
يذكر ان جهاز PS5 كونه جهاز جيل جديد فتعد خاصية تتبع الاشعاع Ray Tracing احد اهم الميزات التي يتم التركيز عليها ورغم تفوق جهاز Xbox Series X من حيث قوة بطاقة الرسومات التي تتركز عليها تقنية تتبع الاشعاع الا ان سوني لديها طرق مختلفة للاستفادة من هذه التقنية وربما تكون براءة الاختراع الجديدة هي مؤشر لذلك.
تدخل مارك سيرني في براءة الاختراع هذه ربما يكون مؤشر الى انها مسألة وقت قبل ان يتم دعمها في جهاز PS5 خاصة ان هذا الرجل لا يشرف الا على الاعمال النهائية التي تصبح شبه جاهزة للتنفيذ.
رغم قوة اجهزة الجيل الجديد ودعمها لتقنية تتبع الاشعاع Ray Tracing الا ان هذه التقنية تستهلك جزء كبير من قدرات بطاقة الرسومات في هذه الاجهزة. لذلك وفي بعض الاحيان يضطر المطورين للتخلي عن دعمها في مشاريعهم لتفضيل دعم اشياء اخرى مثل معدل الاطارات او الدقة العالية.
هل ستقدم سوني تقنية جديدة ربما تجعل المطورين يقومون بدعم تقنية تتبع الاشعاع Ray Tracing في العاب PS5 دون تشكيل ضغط كبير على بطاقة الرسومات والتضحية بخصائص اخرى مثل الوضوح والاداء؟. هذا ما سننتظر لنراه في حال تحولت براءة الاختراع هذه الى شيء حقيقي..















