سجلت شركة سوني براءة اختراع جديدة تعمل على تغيير صعوبة الألعاب في الوقت الفعلي بناءً على مهارة اللاعب. هذه البراءة ليست جديدة بالكامل حيث كنا قد سمعنا عنها قبل ذلك ولكن اليوم تظهر آلية عملها بشكل واضح.
خلال هذا العام، قامت سوني بتسجيل العديد من براءات الإختراع والعديد منها لم يتم تجسيده على أرض الواقع بعد، ربما لإعتبارات تجارية او فنية، او قد تكون مخصصة للجيل القادم، لكن براءة اختراع تغيير صعوبة الألعاب بناءً على مهارة اللاعب هي في الحقيقة ليست جديدة بالكامل ومعروفة سابقًا والآن علمنا كيفية عملها.
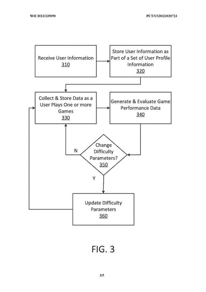
وفقًا لموقع Patent Scope، يقول وصف البراءة من الشركة أنها ستستخدم خوارزميات معينة تقوم بقراءة تحركات اللاعب وطريقة تفاعل مع الظروف وتتابع:
“ستقوم الخاصية بمعايرة الصعوبة التكيفية للأنشطة القائمة على المهارات في البيئات الإفتراضية. حيث سيتم استخدام خوارزميات معينة لمعرفة كيف يتعامل المستخدم مع البيئات والظروف المحيطة وعناصر أخرى معينة لتقييم أداءه معها.”
ستقوم الخاصية هذه بتعديل الصعوبة إما بزيادتها أو بتقليلها حتى تناسب مستوى اللاعب نفسه وبالتالي تجنب الشعور بالإحباط أو الغضب وغيرها من المشاعر المختلفة التي قد تسبب ابتعاد اللاعب عن اللعبة.

الخوارزمية المستخدمة في الخاصية ستقدم للاعب محتوى أو صعوبة تليق به بدلًا من الإختيار بين الصعوبات التقليدية المعروفة في الألعاب بشكل عام.
هذا الأمر قد يشتت اللاعبين قليلًا، لأنه سيصعب معرفة صعوبة لعبة ما الحقيقية لأن الصعوبة وتختلف بناءً على المهارة وبالتالي لن تعرف الصعوبة الخاصة بلعبة ما الا عندما تشتريها.













