براءة اختراع ليد تحكم من نينتندو قد تحل مشكلة الإنزلاق مع جهاز Switch 2..
يبدو أن نينتندو تعمل على براءة اختراع يد تحكم جديدة تتضمن عصا تناظرية مغناطيسية، والتي اقترح البعض أنها تتبع لجهاز Switch 2 بحيث تعيد الآمال في ألا تعاني يد تحكم الجيل الجديد للشركة من مشكلات الإنزلاق (Drift).
قالت Laura Kate Dale على منصة إكس (تويتر سابقا) انه في حال كانت براءة الاختراع هذه تتعلق بيد تحكم جهاز Switch 2 المرتقب، فهذا يجب أن ينهي مشكلات انزلاق العصا التناظرية مع الجيل الجديد من أجهزة Nintendo.
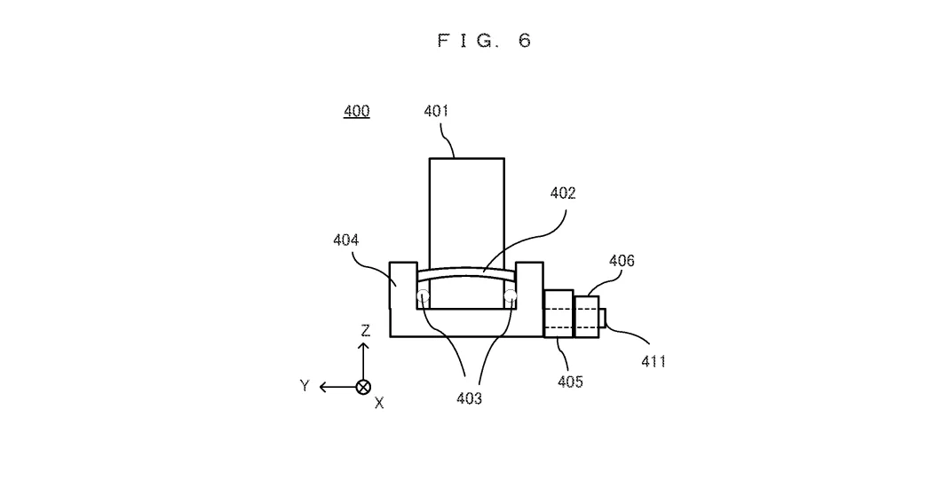
قدمت Nintendo براءة الاختراع إلى مكتب براءات الإختراع الأمريكي في مايو، ولكن تم نشرها في 7 سبتمبر. وهي تصف الأعمال الداخلية لعصا تناظرية تستخدم مجالًا مغناطيسيًا لتوصيل الحركة، والمعروفة أيضًا باسم عصا التحكم Hall Effect.

هذه التقنية التي ستستخدم من خلال ما تبين في البراءة، مختلفة عن التقنية المستخدمة في Joy-Con الخاصة بجهاز Switch الحالي، والتي تستخدم لوحات الدوائر البلاستيكية التي يمكن أن تظهر تآكلًا كبيرًا في نقاط الإتصال لعصا التحكم مثلها مثل بقية يد التحكم كن الشركات الأخرى.
يقال أنه خلال اجتماعات خاصة ومغلقة في معرض Gamescom 2023، كشفت شركة Nintendo عن مجموعة من العروض التقنية الجديدة الخاصة بمنصة Switch 2.
وفقًا لـ Felipe Lima، رئيس تحرير شبكة Universo Nintendo، سيتم إطلاق جهاز نينتندو الجديد مع حجم ذاكرة عشوائية تبلغ 12 جيجابايت متفوقًا بذلك على سيرز أس من مايكروسوفت، حيث يحتوي جهاز PS5 و Xbox Series X على ذواكر عشوائية سعتها 16 جيجابايت، بينما يحتوي جهاز Xbox Series S على ذواكر عشوائية سعتها 10 جيجابايت.
يدعي Lima أيضًا أن العرض التقني للعبة Matrix Awakens الذي يزعم أن Nintendo عرضته للمطورين في Gamescom كان يستخدم تقنية DLSS 3.1 وليس DLSS 3.5، وهذا يؤكد ما ادعته بعض التقارير عن دعم تقنية تتبع الأشعة.











